Dr. Niznick's Dental Implant Patents

1986 Screw-Vent Implant: Dr. Niznick introduced the Screw-Vent® dental implant in grade 1 commercially pure titanium. The Screw-Vent incorporated the same thread design and diameter (3.75 mm) as the Brånemark implant, but featured a 1.5 mm-deep internal hexagon with a threaded shaft below it. This patented connection provides the stability needed between the implant and the abutment to prevent screw loosening and thus minimizes long-term prosthetic complications. It also allows screw-retained, two-piece abutments to interlock with the internal hexagon to prevent rotation, which made single tooth replacement a viable option in implant restorations. At the top of the internal hexagon, a lead-in bevel helps stabilize the abutment against lateral forces and reduces the chance of tissue being trapped in the joint, which could result in incomplete seating.
Paragon Patents
Dental Implant Patents: 2023-Present
- 
					
                      Dual Function Dental Implants
Filed 2023 - Issued 2024
 
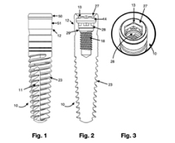
Core-Vent
Dental Implant Patents: 1982-1997
- 
                    
                      Endosseous dental implant system for overdenture
Filed 1982 - Issued 1984
 - 
                   
                      Connector for overdenture
Filed 1983 - Issued 1984
 - 
                    
                      Bendable adapter for dental implant
Filed 1985 - Issued 1987
 - 
                    
                      Coping insert for use with a dental implant
Filed 1987 - Issued 1988
 
- 
                    
                      Coping insert for use with a dental implant
Filed 1988 - Issued 1992
 - 
                      
                        Screw-type dental implant anchor
Filed 1987 - Issued 1990
 - 
                      
                        Grooved, cylindrical dental implant anchoring means
Filed 1988 - Issued 1990
 - 
                          
                        Angled abutment for endosseous implants
Filed 1989 - Issued 1990
 
- 
					
                      Dental implant including plural anchoring means
Filed 1989 - Issued 1991
 - 
                      
                        Dental implant handle, and dental implant package with handle
Filed 1990 - Issued 1991
 - 
                      
                        Tiltable, adjustable, insert for a dental implant
Filed 1990 - Issued 1991
 - 
                          
                        Dental implant including plural anchoring means
Filed 1991 - Issued 1992
 
- 
    			
                        Multi-part, multi-positionable abutment for use with dental
Filed 1992 - Issued 1994
 - 
                      
                        Transfer abutment
Filed 1992 - Issued 1994
 - 
                      
                        Dental implant method of installation
Filed 1993 - Issued 1995
 - 
                          
                        Interlocking, multi-part endosseous dental implant
Filed 1993 - Issued 1995
 
- 
    			
                        Insertion tool-healing collar-abutment
Filed 1994 - Issued 1997
 - 
                      
                        Selective surface, externally-threaded endosseous dental
Filed 1994 - Issued 1996
 - 
                      
                        Cutting drill for endosseous implants
Filed 1993 - Issued 1995
 
Paragon
Dental Implant Patents: 1997-1999
- 
                    
                      Non-submergible, one-part, root-form endosseous dental...
Filed 1997 - Issued 1999
 - 
                   
                      Selective surface, endosseous dental implants
Filed 1998 - Issued 1999
 - 
                    
                      Multi-part, multi-positionable abutment for use with dental...
Filed 1998 - Issued 2001
 - 
                    
                      Endosseous dental implants including a healing screw and...
Filed 1999 - Issued 2001
 
Implant Direct
Dental Implant Patents: 2004-2017
- 
                    
                      Multi-part abutment and transfer cap for use with an endosseous...
Filed 2003 - Issued 2006
 - 
                   
                      Endosseous dental implant
Filed 2004 - Issued 2006
 - 
                    
                      Multi-functional fixture mount
Filed 2005 - Issued 2010
 - 
                    
                      Tapered endosseous dental implants with external multiple...
Filed 2005 - Issued 2010
 
- 
                    
                      One-piece, screw-receiving, externally-threaded...
Filed 2005 - Issued 2010
 - 
                      
                        Flared implant extender for endosseous dental implants
Filed 2005 - Issued 2008
 
Implant Direct Sybron
Dental Implant Patents: 2011 - 2017
- 
                      
                        One-piece, screw-receiving, externally-threaded...
Filed 2010 - Issued 2012
 - 
                          
                        Externally-threaded, externally micro-grooved…
Filed 2010 - Issued 2016
 - 
					
                      Dental attachment assembly
Filed 2010 - Issued 2016
 - 
					
                      Two-piece fixture mount assembly
Filed 2012 - Issued 2017
 

